間口狭小補正とは?
間口が狭いと利用価値が下がるため、間口が狭いほど評価額を下げることができます。
間口距離の測定方法は?

間口距離は、原則として道路と接する部分の距離です。
実際にメジャーなどで測定しても、公図や地積測量図を入手して測った数値を利用しても構いません。
(公図や地積測量図は、法務局かインターネットから取得可能)
ただし、対象の土地が長方形や正方形でない場合には、間口距離の求め方が異なります。
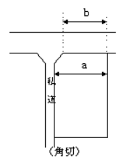
例:

aが間口距離となります。
⇒隅切りの土地は隅切りがなかったものとして間口距離を測定します。

a+cが間口距離となります。

bが間口距離となります。
⇒ただし、aを間口距離をしても問題ありません。
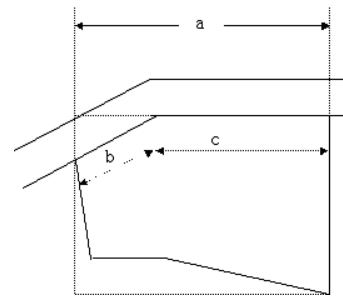
屈折路(不整形地)の場合の間口距離
屈折路に面する不整形地の間口距離は、その不整形地に係る想定整形地の間口に相当する距離と、
屈折路に実際に面している距離とのいずれか短い距離です。

aが間口距離となります。

b+Cが間口距離となります。
(参考:国税庁 間口距離の求め方)
https://www.nta.go.jp/law/shitsugi/hyoka/03/08.htm
(参考:国税庁 間口が狭い宅地の評価)
https://www.nta.go.jp/law/shitsugi/hyoka/03/09.htm
(参考:国税庁 屈折路に面する宅地の間口距離の求め方)
https://www.nta.go.jp/law/shitsugi/hyoka/03/10.htm


